杠桿百分表拆裝和修理順序
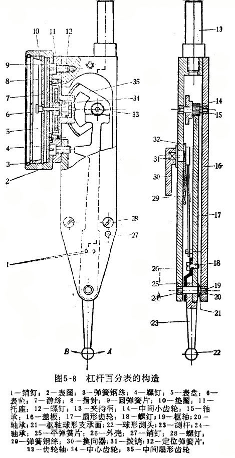
杠桿百分表的結構形式較多,其拆裝方法和步驟也不盡相同.現以圖5—8所示杠桿百分表為例,介紹如下:

(1)用螺絲刀挑出彈簧鋼絲3,取下表蒙6、指針8、表盤5。
(2)拆下固定圓彈簧片9的三個螺釘(圖中末繪出),即可取下圓彈簧片和表圈2;取下螺釘4和12,可將托座11連同中心齒輪34、游絲7以及托座上的蓋板一同取下。如需凋整或拆下游絲時。可將托座上的蓋板拆下,取出游絲和中心齒輪。
(3)拆下三個螺釘28,取下蓋板16,即可取出杠桿齒輪機構和扇形齒輪35。
(4)拆卸杠桿齒輪機構時,先旋下螺釘18,拆下平彈簧片25,沖出樞軸19,這時測桿23和扇形齒輪17即可分開。
(5)拆卸投向機構時,先拆下換向器30,將撥銷31、定價彈簧片32取出。測力彈簧鋼絲29與撥銷鉚接,如不更換換配件可不必拆下。
(6)各軸承與表體為過盈配合,一般不必訴下。最后旋下夾持柄13,杠桿百分表即拆卸完畢。
拆卸圖5—9所示的側面式杠桿百分表表圈1時,用螺絲刀插入表圈與表體之間的縫隙內,將表圈翅出。然后再拆下指針、表盤盤、圓座板、中心齒輪等、翅表圈時,每次翅出量不可太多,每翅一次將表圈轉動一個位置,避免表圈傾斜而卡死。拆卸杠桿齒輪機構時,先用沖頭將樞軸8沖出,因樞軸略帶錐度,放應注意識別大小端。

端面式杠桿百分表(圖5—10)的表蒙l2壓配于表圈8上,并壓緊表圈9,拆卸時用螺絲刀輕輕翅下表蒙。然后取下指針、表盤、中心鹵輪、圓座板、表圈等。

對于共它結構形式的杠桿百分表,可參照上述方法和順序拆卸。
周期檢修中的杠桿百分表,除大修外,通常不需要全部拆卸,只將需要修理的部分拆下即可。
杠桿百分表的安裝按上述相反的步驟進行。安裝托座或圓座板時,應注意裝配質量,中心齒輪的嚙合必須良好,并應將游絲預緊。
杠桿百分表的一般修理順序為先修表體部分,再修傳動剖分和讀數部分,最后進行裝配。具體修理項目和順序如下:
(1)拆卸和清洗各零部件,并進行外觀修理;
(2)各部分相互作用的修理;
(3)測力和測桿扭力的修理;
(4)示值穩定性的修理;
(5)示值誤差的調整和修理。
杠桿百分表拆裝和修理順序由思誠資源網整理編輯,你還可以了解用于裝夾杠桿表的磁性表座






















































































































































