
2、快速裝夾測量裝置的設計

1、功能及設計要求
三坐標測量儀上一待測工件,如圖 3 所示。球體直徑約為80mm,現要求通過接觸式測量方式測量球體直徑且判斷該球的表面輪廓度。三坐標測量儀在進行接觸式測量時,測量接觸力約為6N,被測工件僅需固定其空間姿態便可完成一般性測量工作。

現考慮使用密集型多點支撐,使被測工件表面輪廓盡可能與夾具支撐部位輪廓相一致、貼合,從而起到支撐作用。而夾具支撐部分輪廓形狀可以隨被測工件表面輪廓的變化而改變,達到柔性夾具的要求。

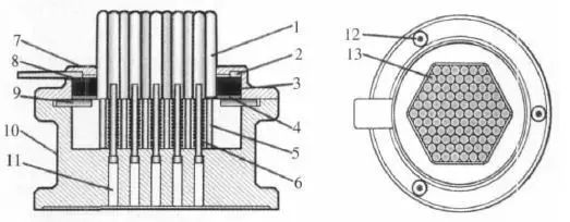
夾具體為臺式結構,1、13 頂桿為工件支撐部分,六邊形陣列共 91 根支撐頂桿,支撐頂桿上端支撐球面,下端圓柱部分直徑為準80-0.030mm;頂桿下方螺紋連接5固定導桿,導桿下端在導向孔內滑動,保證支撐頂桿做垂直方向運動,導向桿中部直徑為準50-0.030mm,并與導向孔之間按H7/f6間隙配合,各導向孔之間孔心距為準8+0.2100mm;固定導桿中部安裝彈簧,彈簧上端由支撐頂桿底部限制定位,彈簧下端由 10 夾具底座的上表面固定。
當球形工件放置于支撐頂桿上時,在工件自身重力作用下,固定導桿上彈簧被壓縮;又由于各位置處支撐頂桿工作球面與工件曲面的接觸夾角不同,所以下降高度也有所差別,最終各支撐頂桿所受重力與彈簧彈力達到平衡,使球形工件在夾具上實現定位。當夾具對球形工件實現穩定定位時,支撐頂桿陣列組上表面會形成如同工件幾何外形的凹陷,凹陷輪廓與工件外形輪廓緊密貼合。該夾具工作原理及定位效果,如圖 5所示。

夾具底座上開有準8mm通孔,可與組合式柔性夾具工作底板通過螺栓固定,同時可利用該孔安裝其他組合式柔性夾具配合操作。對于球類工件,僅提供支撐面定位即可放置于三坐標測量儀工作臺上進行測量等操作;但對于空間管道類工件,還需通過外部的輔助夾具對其進一步夾緊來完成定位,此時所介紹的柔性定位夾具則主要起到定位支撐作用,為輔助夾具提供鎖緊支撐。
3、鎖緊機構設計
如圖4所示,圖中2推動齒環、3鎖緊齒、4鎖緊齒環、8推動齒和9夾緊環支架組成夾具支撐頂桿的鎖緊機構。當工件放置于支撐頂桿陣列面上時,在工件重力與彈簧彈性力的共同作用下,整個結構最終達到平衡,各支撐頂桿下降高度不再變化。如圖6所示,1推動齒與2推動齒環螺栓連接(圖6中省略推動齒環),2鎖緊齒與3鎖緊齒環也通過螺栓連接。


在進行支撐頂桿鎖緊操作時,沿逆時針方向帶動推動齒環,推動齒環帶動推動齒一起作圓周運動;當推動齒連續轉動時,推動齒與鎖緊齒相切位置不斷變換,同時將鎖緊齒向夾具體中心推動;支撐頂桿陣列組在鎖緊齒的夾緊力作用下產生微量形變,各支撐頂桿相互擠壓,最終達到鎖緊支撐頂桿的功能。夾具夾緊機構爆炸圖,如圖8所示。

4、柔性定位夾具特點
此定位夾具對于球類零件可以根據其曲面輪廓自動調整定位結合面,使工件穩定支撐于三坐標工作臺,且該夾具可與市面上現有三坐標組合式柔性夾具相互組合配套使用,提高利用價值。該夾具具有廣泛的使用范圍,有效保證定位可靠性,提高測量精度,提高儀器測量測量效率。
結語
快速裝夾裝置實現了三坐標機上批量產品的快速裝夾測量,同時裝置方便靈活,一致性好,大幅提高了測量效率,保證了快速測量時的精度。柔性定位夾具在綜合組合夾具優勢的基礎之上,可以實現球類零部件的有效支撐,同時可與組合夾具搭配,實現多工位定位。兩者的應用將在現有的基礎上繼續提高三坐標測量儀的使用效率。而其中體現出來的快速,多用性這兩種思路在新型夾具設計時很具有參考價值。






















































































































































