EC-001001 電極校正夾頭(含EROWA 50定位片
品牌:EROWA(愛路華)
型號:EC-001001
¥待詢價(提交訂單10分鐘內獲取專屬報價單)





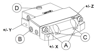
1、輕輕松開連接螺栓(C)以便于彈簧墊圈能保持彈力,旋轉調節螺絲(Z)移動工件至Z軸向需要的位置(ca.+/-0.3°), 定位后,擰緊連接螺栓(C)。
2、2.輕輕松開連接螺栓(A)以便于彈簧墊圈能保持彈力,旋轉調節螺絲(X)移動工件至X軸向需要的位置(ca.+/-0.3°), 定位后,擰緊連接螺栓(A)。
3、3.松開緊固螺栓(B),再用10Nm的扭力擰緊它(最終預調完需用20Nm的扭力擰緊),擰緊緊固螺栓(D)。
4、旋轉調節螺絲(Y)移動工件至Y軸向需要的位置(ca.+/-0.3°), 定位后,擰緊緊固螺栓(D)。用20Nm的扭力擰緊緊固螺栓(B)。
1、不分拆,清洗擺動式夾頭。
2、萬一受損或需修理,請將3D擺動式夾頭寄回EROWA修理。
警告:如果3D擺動式夾頭用于EROWA儲運裝置,則需要根據下圖重新加工夾頭。
思誠資源為您提供:ER-030923 3D擺動式夾頭PalletSet W的采購報價、EROWA(愛路華)ER-030923型號參數、規格圖片、PDF畫冊等資料,如您想了解更多關于EROWA(愛路華)正品品牌的其他夾具配件資料與產品貨期庫存、行情價格,就在思誠資源MRO商城。
備注:因廠家會在沒有任何提前通知的情況下更改產品包裝、產地或者一些附件,本公司不能確保客戶收到的貨物與思誠資源網站提供的產品圖片、產地、附件說明等完全一致。若本網站沒有及時更新,敬請諒解!
